பாதுகாப்பான ஃபாஸ்டென்னிங் அறுகோண போல்ட் பேக்கேஜிங், அவற்றை ஒழுங்கமைக்க மற்றும் சேதத்தைத் தடுக்க வடிவமைக்கப்பட்டுள்ளது. இந்த பேக்கேஜிங் பெட்டிகள் ஸ்லாட்டுகள் பொருத்தப்பட்ட மென்மையான புறணியுடன் வருகின்றன. போல்ட்கள் அவற்றில் தலைக்கு-தலையாக அமர்ந்திருக்கும், எனவே ஒவ்வொரு ஹெக்ஸ் போல்ட்டும் அப்படியே இருக்கும். இது அவற்றை விரைவாக எடுக்கவும் வைக்கவும் செய்கிறது மற்றும் ஷிப்பிங்கில் எந்த கீறல்களையும் தடுக்கிறது. மொத்த போக்குவரத்துக்கு, அறுகோண போல்ட்கள் பெரும்பாலும் ஒரு பையில் 500 துண்டுகள் நிரம்பியுள்ளன. இந்தப் பைகள் பின்னர் உட்புறப் பெட்டிகளில் வைக்கப்பட்டு, சுமைகளை நிலையாக வைத்திருக்க மரத்தாலான உறைகள் பலப்படுத்தப்படுகின்றன. முக்கியமான தொழில்களுக்கு, உயர்-ஸ்பெக் பேக்கேஜிங் விருப்பங்கள் கடுமையான இராணுவ தரநிலைகளை சந்திக்கலாம். இதில் சீல் செய்யப்பட்ட, கிரீஸ் ப்ரூஃப் மற்றும் நீர்ப்புகா பைகள் ஆகியவை அடங்கும், அவை சேமித்து வைக்கும் போது மற்றும் ஷிப்பிங்கின் போது அரிப்பிலிருந்து போல்ட்களைப் பாதுகாக்கின்றன.
ஹெக்ஸ் போல்ட்டின் தரம் அதன் வலிமையைக் காட்டுகிறது. எளிதாக அடையாளம் காண இந்த கிரேடு அடையாளங்கள் போல்ட்களின் தலையில் இருக்கும். பொதுவான ஐஎஸ்ஓ கிரேடுகளில் 4.6, 8.8, 10.9 மற்றும் 12.9 ஆகியவை அடங்கும்.கிரேடு 8.8 ஒரு பொதுவான நடுத்தர வலிமை போல்ட் ஆகும், அதே சமயம் 10.9 மற்றும் 12.9 அதிக வலிமை கொண்டவை மற்றும் கார்கள் மற்றும் கட்டுமானம் போன்ற தேவைப்படும் பகுதிகளில் பயன்படுத்தப்படுகின்றன. A307 மற்றும் A325 போன்ற ASTM தரநிலைகளும் போல்ட் செயல்திறனை வரையறுக்கின்றன. பாதுகாப்பான ஃபாஸ்டென்னிங் அறுகோண போல்ட்டைத் தேர்ந்தெடுப்பது பாதுகாப்புக்கு முக்கியமானது, ஏனெனில் இது போல்ட் சுமைகளைத் தவறாமல் கையாளும் என்பதை உறுதி செய்கிறது.
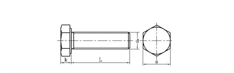
| மிமீ | |||||||
| d | S | k | d | நூல் | |||
| அதிகபட்சம் | நிமிடம் | அதிகபட்சம் | நிமிடம் | அதிகபட்சம் | நிமிடம் | ||
| M3 | 5.32 | 5.5 | 1.87 | 2.12 | 2.87 | 2.98 | 0.5 |
| M4 | 6.78 | 7 | 2.67 | 2.92 | 3.83 | 3.98 | 0.7 |
| M5 | 7.78 | 8 | 3.35 | 3.65 | 4.82 | 4.97 | 0.8 |
| M6 | 9.78 | 10 | 3.85 | 4.14 | 5.79 | 5.97 | 1 |
| M8 | 12.73 | 13 | 5.15 | 5.45 | 7.76 | 7.97 | 1.25 |
| M10 | 15.73 | 16 | 6.22 | 6.58 | 9.73 | 9.96 | 1.5 |
| M12 | 17.73 | 18 | 7.32 | 7.68 | 11.7 | 11.96 | 1.75 |
| M14 | 20.67 | 21 | 8.62 | 8.98 | 13.68 | 13.96 | 2 |
| M16 | 23.67 | 24 | 9.82 | 10.18 | 15.68 | 15.96 | 2 |
| M18 | 26.67 | 27 | 11.28 | 11.7 | 17.62 | 17.95 | 2.5 |
| M20 | 29.67 | 30 | 12.28 | 12.71 | 19.62 | 19.95 | 2.5 |
உங்கள் செக்யூர் ஃபாஸ்டென்னிங் அறுகோண போல்ட்களுக்கான மெட்டீரியல் மேக்கப் மற்றும் அரிப்பைப் பாதுகாப்பு விருப்பங்களை விளக்க முடியுமா?
குறைந்த கார்பன் ஸ்டீல், வலுவான அலாய் ஸ்டீல் மற்றும் துருப்பிடிக்காத எஃகு (A2-304 மற்றும் A4-316) போன்ற பல்வேறு பொருட்களில் எங்கள் ஹெக்ஸ் போல்ட்களை நாங்கள் உற்பத்தி செய்கிறோம். துருப்பிடிக்காத பாதுகாப்பிற்காக, எலக்ட்ரோ-கால்வனேற்றப்பட்ட துத்தநாகம், ஹாட்-டிப் கால்வனைசிங் மற்றும் டாக்ரோமெட் போன்ற பூச்சுகளை நாங்கள் வழங்குகிறோம். சரியான பூச்சுகளைத் தேர்ந்தெடுப்பது போல்ட் எவ்வளவு காலம் நீடிக்கும், குறிப்பாக கட்டுமானத் தளங்கள் அல்லது கடலுக்கு அருகில் உள்ள கடினமான இடங்களில்.
